BLOCKSMITH
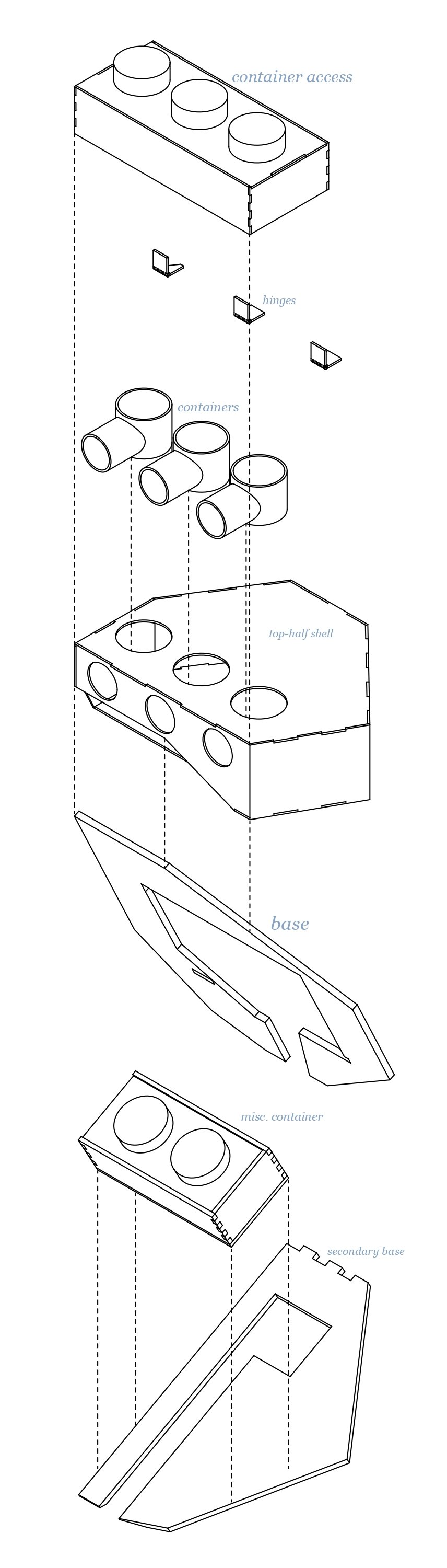
Blocksmith was a two-part project, with both parts centered around the sale of a certain product. This project was centered around LEGOs, more specifically the more high-end, rare LEGO pieces not normally sold in regular stores. The first part of the project was designing a standalone storage device for selling the product, and the second part was designing a residence-shop (resi-shop) limited to 650 square feet.
semester FALL 2021
instructor MATTHEW BROOKS
ALL WORK CREATED INDIVIDUALLY

